搜索
热门搜索: 美国中克塞尔美国世铨美国特迪亚美国传力德国HBM梅特勒托利多
产品中心

    【赛多利斯PR6207传感器】PR6207/11D1-10KG~PR6207/11D1-200kg_德国sartorius称重传感器

    产品介绍

    一、PR6207称重传感器产品介绍

    产品品牌:德国茵泰科 Minebea-intec(原赛多利斯)
    产品系列:PR6207
    产品类型:波纹管称重传感器
    产品量程:10kg,20kg,50kg,100kg,200kg
    产品精度:可选D1或C3精度等级

    产品介绍:

    PR6207是专为料罐称重设计,用于平台秤或皮带秤。其特殊性能是传感器由不锈钢(1.4122)制成,膜是不锈钢1.4541制造。因此其重复性好、测量精度高、稳定、可靠。免维护,常年不需较多调整。密封焊接式传感器,即使在恶劣的工作环境下也能使用。整个测量链无需砝码就能校准。由于“匹配输出”技术,损坏的传感器可以更换,不需重新校准。这节省了调试过程中的大量时间。

    PR6207系列称重传感器专为称量过程容器而设计,用于皮带秤和台秤。当与安装套件PR6007结合使用时,它们确保由容器和支撑结构的机械或热收缩或膨胀引起的移动对称重结果的影响可以忽略不计。

    产品特点:

    (1)易于安装使用
    (2)易于使用匹配传感器一致性输出
    (3)全不锈钢结构
    (4)温度适应范围广
    (5)防震
    (6)密封焊接,IP68防护等级(1.5m水下浸没10,000小时)
    (7)提供防爆型号,应用于防爆1、2、20、21、22和FM DIV 1区。
    (8)W&M认证(OIML R60)


    二、PR6207系列称重传感器型号

    PR6207/11D1 (10 kg)
    PR6207/21D1 (20 kg)
    PR6207/51D1 (50 kg)
    PR6207/12D1 (100 kg)
    PR6207/22D1 (200 kg)

    PR6207/11C3 (10 kg)
    PR6207/21C3 (20 kg)
    PR6207/51C3 (50 kg)
    PR6207/12C3 (100 kg)
    PR6207/22C3 (200 kg)

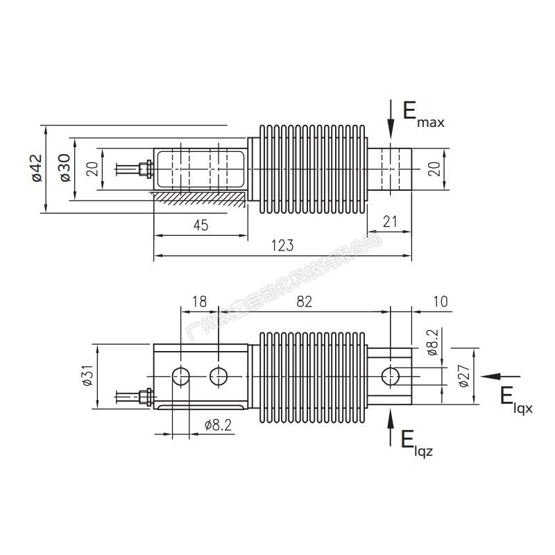
    三、PR6207称重传感器产品尺寸

    四、PR6207称重传感器产品图片

    五、PR6207称重传感器技术参数


    产品推荐

    联系我们
    联系方式

    销售热线:

    陈小姐:18520271262

      陈小姐:18688494254

    黄先生:18688492451

      黄先生:18520471262

    上班时间:

    周一到周六9:00-18:00

    二维码
    扫一扫联系我们