发布时间:2022-08-27 人气: 来源:1
我们假设称重传感器的灵敏度分别为S1、S2,桥臂电阻分别为R1、R2,供桥电压分别为U1、U2,满量程均为F。这两个传感器并联工作的条件是S1R1=S2R2,显然,并联工作状态对传感器本身的参数要求是比较高。
同理当n个称重传感器并联工作时可得:S1/R1=S2/R2=…=Sn/Rn。
两个传感器并联工作时的特点如下:
1)假定对某一载荷W,我们以满量程为F、灵敏度为S、供桥电压为 U 的一个传感器测量它,输出为U1 则:U1=WSU/F。 如果两个传感器并联工作,测量以上同一载荷W,在理想情况下 , 则可选用满量程为(1/2)F的传感器,假定它们的灵敏度也为S, 供桥电压也为U,则总的输出Un为:Un= U1

图1称重传感器并联工作方式
2)假定这两个传感器的桥臂电阻均为 R, 并联后的输出阻抗为 Rn,则显然有Rn=R/2。
同理可证明当 n 个传感器全并联工作时则有: Un= "U1" Rn =R /n
上式的 Un= "U1",Rn分别是n个传感器并联工作后的输出信号和输出阻抗.这两个式子说明,不管几个传感器并联工作都不会得到比一个等效的传感器更大的输出,但并联后的输出阻抗却减小为一个传感器的 1/n。

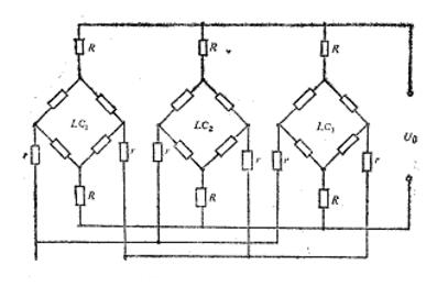
图 2- 接有隔离电阻的全并联工作方式
在称重显示控制器具有较高的灵敏度或高的分辨率的条件下,采用并联法较好,因为它只要一个供桥电源,系统简单经济。但它要求每个传感器输出阻抗的平均偏差要 小,传感器系数的公差也不能太大。否则,当几个传感器受力不均匀时,输出电压的平均值将产生误差。国外并联工作时,大多数在每个传惑器的两输出端与配接的 称重显示器之间,接入两个隔离电阻。由于传感器的内阻是输出信号的函数,串入隔离电阻能降低电阻变化对输出的影响。每个传感器的两隔离电阻总阻值要相等, 这两个电阻本身也要相等,公差要小,这祥能减小因传感器输出阻抗不等或传感器系数不一致对传感器总输出的影响。接法如图2。
试验表明 , 当并联工作的传感器受载不均匀时,传感器平均误差小于 0.05%。 图3中 R 即为隔离电阻,通常可选10kO左右,公差为0.01%。